
曝光的苹果骨传导耳机专利
凤凰科技讯北京时间6月8日消息,据科技网站AppleInsider报道,最新曝光的专利显示,苹果盯上了防水扬声器和新型耳机,而后者则会加入骨传导技术,因此它在降噪能力上比现有的EarPods强的多。
防水扬声器

图1
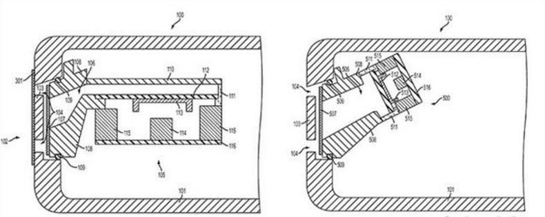
新专利来自美国商标专利局(USPTO),该专利名为“耐液声学装置”,编号为No. 9,363,589,从专利图来看,该机构的设计和功能与Apple Watch上的防水件非常类似。
这款专利设计就像是一把专用的“小雨伞”,可以用于隔绝扬声器开孔。而如今的iPhone上,扬声器的六个开孔只有网罩保护。声学模块上有着O形或是类似的机制可以连接主机,这样就能够营造出一定的密封环境。

图2
当遇到液体涌入的时候,就会接触到网眼被导流走,这样会降低网格层上的压力,从而降低了潜在损害的可能性。此外,苹果也针对这个问题做了解释,当网格层压力大到一定程度的时候,这张网也会允许一部分的液体流过,以免造成结构性的损害。
想要继续提升防水能力,苹果还可为该系统涂覆上疏水涂层,同时在系统内部使用亲水涂料,这样能够可以明确知晓进水的区域。另外,苹果也有可能直接将这种技术应用在iPhone的外部结构,打造一个防御液体侵入的系统。
除了上面的防护方法,苹果还将会其他一系列的措施,其中包括完整覆盖机身底部的二层网格、各种表面涂层和新型材料等等。
不过目前暂时还不清楚苹果是否有计划很快将这项专利相关技术投入量产。去年有传闻称,即将到来的“iPhone 7”系列新机将有一定的防水性能,但后续的报道却无法确认该消息。该专利申报日期是2014年7月,也许iPhone 7还能赶得上。
骨传导耳机

图3
下面,我们来说说专利号为No. 9,363,596的新耳机,该产品专利名为“一套通过加速计和麦克风信号来改变移动设备语音通话质量的系统”,其实简单来说就是利用骨传导技术来消除噪音。
这项专利诞生于2013年,该耳机能够检测声带震动和利用头骨进行传导。在自带麦克风的帮助下,系统可以测量出输出信号,解析声音中是否夹带噪音并加以区分。
此外,该耳机还设有内置麦克风阵列,系统可以衡量输出信号和解析非声带噪音,区分用户讲话与环境震动,甚至是能够分辨清浊音。
另外,来自两套VAD系统的数据会被用来对比,然后通过运算进行降噪,以输出一个高质量的信号。(编译/吕佳辉)
想看更多国外有意思的、新奇的科技新闻?那就来扫码关注外言社(微信号:ifengwys)的官方微信吧。
